Firstpost
  • Home
  • Video Shows
    Vantage Firstpost America Firstpost Africa First Sports
  • World
    US News
  • Explainers
  • News
    India Opinion Cricket Tech Entertainment Sports Health Photostories
  • Asia Cup 2025
Apple Incorporated Modi ji Justin Trudeau Trending

Sections

  • Home
  • Live TV
  • Videos
  • Shows
  • World
  • India
  • Explainers
  • Opinion
  • Sports
  • Cricket
  • Health
  • Tech/Auto
  • Entertainment
  • Web Stories
  • Business
  • Impact Shorts

Shows

  • Vantage
  • Firstpost America
  • Firstpost Africa
  • First Sports
  • Fast and Factual
  • Between The Lines
  • Flashback
  • Live TV

Events

  • Raisina Dialogue
  • Independence Day
  • Champions Trophy
  • Delhi Elections 2025
  • Budget 2025
  • US Elections 2024
  • Firstpost Defence Summit
Trending:
  • Nepal protests
  • Nepal Protests Live
  • Vice-presidential elections
  • iPhone 17
  • IND vs PAK cricket
  • Israel-Hamas war
fp-logo
Apple patents acoustic in-display fingerprint technology for Touch ID alternative
Whatsapp Facebook Twitter
Whatsapp Facebook Twitter
Apple Incorporated Modi ji Justin Trudeau Trending

Sections

  • Home
  • Live TV
  • Videos
  • Shows
  • World
  • India
  • Explainers
  • Opinion
  • Sports
  • Cricket
  • Health
  • Tech/Auto
  • Entertainment
  • Web Stories
  • Business
  • Impact Shorts

Shows

  • Vantage
  • Firstpost America
  • Firstpost Africa
  • First Sports
  • Fast and Factual
  • Between The Lines
  • Flashback
  • Live TV

Events

  • Raisina Dialogue
  • Independence Day
  • Champions Trophy
  • Delhi Elections 2025
  • Budget 2025
  • US Elections 2024
  • Firstpost Defence Summit
  • Home
  • Tech
  • News & Analysis
  • Apple patents acoustic in-display fingerprint technology for Touch ID alternative

Apple patents acoustic in-display fingerprint technology for Touch ID alternative

tech2 News Staff • May 2, 2019, 15:46:16 IST
Whatsapp Facebook Twitter

By using acoustic imaging, Apple can create high-resolution texture maps of an object

Advertisement
Subscribe Join Us
Add as a preferred source on Google
Prefer
Firstpost
On
Google
Apple patents acoustic in-display fingerprint technology for Touch ID alternative

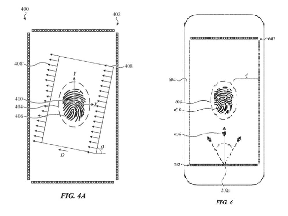
In-display fingerprint scanners may not be a common sight on budget smartphones just yet but they have become quite the norm when it comes to Android flagships. Well, it now appears that Apple, a company which has stayed away from trying in-display scanners on its devices, is planning to jump on the hype train as well. Spotted first by Patently Apple, the US Patent and Trademark Office has just granted Apple the green light for a patent which appears to be a likely alternative to Touch ID. The patent showcases “methods of biometric imaging of input surfaces”, which directly relate to an acoustic imaging system. Using this newly patented technique, a high-resolution image of an object can be mapped, in this case, a fingerprint. Since Apple has never used an in-display fingerprint scanner in any of its devices yet, this patent getting published may be a start. [caption id=“attachment_4185141” align=“alignnone” width=“1280”]Representational image. Representational image.[/caption] As per the patent, an acoustic transducer is configured to generate acoustic outputs in response to a signal from a controller. The outputs may be in the form of mechanical waves or pulses, and they will be coded with the help of the controller. To obtain the image of the fingerprint, the acoustic imaging system can use a multitude of techniques, including reflection, diffraction and transmission. Further notes from the patent state that the acoustic imaging system can also be used to map biometrically unique features of the fingers like size, shape and skin patterns. [caption id=“attachment_6558151” align=“alignnone” width=“1000”]DIagrams of Apple’s new in-display fingerprint scanner patent. Image: Apple (via the US PTO) DIagrams of Apple’s new in-display fingerprint scanner patent. Image: Apple (via the US PTO)[/caption] The notes also affirm that Apple’s imaging technique can capture features like the user’s ears and other prominent features as well. Considering that Apple originally filed the patent in Q3 of 2016, this new tech may not see the light of day anytime soon. However, implications of the tech can be incorporated in newer Apple devices, and since Apple is focused on security rather than plain convenience, we won’t be surprised if the company implementation is the best-in-class. To recall, arch competitor, Samsung, earlier this year launched the world’s first ultrasonic in-display fingerprint scanner — which a lot of people (including us) were unhappy with. Hopefully, Apple does better.

Tags
IPhone Apple Touch ID in display fingerprint scanner
End of Article
Latest News
Find us on YouTube
Subscribe
End of Article

Top Stories

Israel targets top Hamas leaders in Doha; Qatar, Iran condemn strike as violation of sovereignty

Israel targets top Hamas leaders in Doha; Qatar, Iran condemn strike as violation of sovereignty

Nepal: Oli to continue until new PM is sworn in, nation on edge as all branches of govt torched

Nepal: Oli to continue until new PM is sworn in, nation on edge as all branches of govt torched

Who is CP Radhakrishnan, India's next vice-president?

Who is CP Radhakrishnan, India's next vice-president?

Israel informed US ahead of strikes on Hamas leaders in Doha, says White House

Israel informed US ahead of strikes on Hamas leaders in Doha, says White House

Israel targets top Hamas leaders in Doha; Qatar, Iran condemn strike as violation of sovereignty

Israel targets top Hamas leaders in Doha; Qatar, Iran condemn strike as violation of sovereignty

Nepal: Oli to continue until new PM is sworn in, nation on edge as all branches of govt torched

Nepal: Oli to continue until new PM is sworn in, nation on edge as all branches of govt torched

Who is CP Radhakrishnan, India's next vice-president?

Who is CP Radhakrishnan, India's next vice-president?

Israel informed US ahead of strikes on Hamas leaders in Doha, says White House

Israel informed US ahead of strikes on Hamas leaders in Doha, says White House

Top Shows

Vantage Firstpost America Firstpost Africa First Sports
Latest News About Firstpost
Most Searched Categories
  • Web Stories
  • World
  • India
  • Explainers
  • Opinion
  • Sports
  • Cricket
  • Tech/Auto
  • Entertainment
  • IPL 2025
NETWORK18 SITES
  • News18
  • Money Control
  • CNBC TV18
  • Forbes India
  • Advertise with us
  • Sitemap
Firstpost Logo

is on YouTube

Subscribe Now

Copyright @ 2024. Firstpost - All Rights Reserved

About Us Contact Us Privacy Policy Cookie Policy Terms Of Use
Home Video Shorts Live TV